
图片来源于网络,如有侵权,请联系删除
证券之星消息,根据天眼查APP数据显示潍柴动力(000338)新获得一项实用新型专利授权,专利名为“气门锁夹安装工具”,专利申请号为CN202422893005.3,授权日为2025年10月24日。
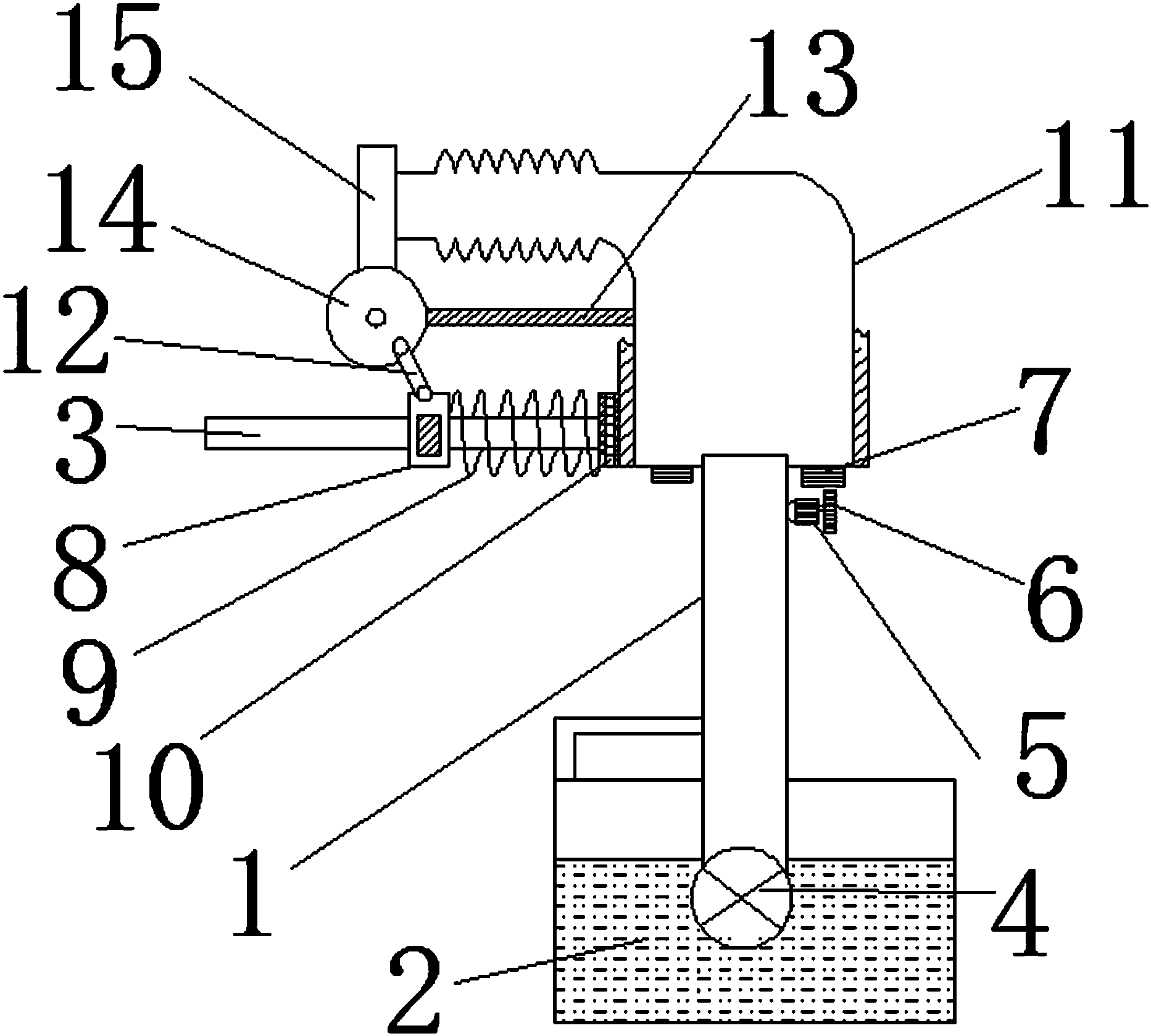
专利摘要:本实用新型涉及工装夹具技术领域,尤指一种气门锁夹安装工具。气门锁夹安装工具包括压杆、压紧组件和支撑组件,压紧组件设置于压杆,压紧组件远离压杆的一端用于与气门弹簧的上座抵接;支撑组件包括支撑杆和支撑块,支撑杆转动连接于压杆的一端,支撑块具有第一表面和第二表面,第一表面朝向压杆,支撑杆与第一表面连接,支撑块的第二表面的一侧设置有定位腔,定位腔用于与凸轮轴配合,其中:第一表面和第二表面之间夹角为第一预设值,以使支撑块与凸轮轴配合时,压紧组件朝向气门弹簧的一侧与上座的顶面平行。本申请中的气门锁夹安装工具,能够在压紧气门弹簧时,不会将气门杆刮伤。

图片来源于网络,如有侵权,请联系删除
今年以来潍柴动力新获得专利授权931个,较去年同期减少了4.61%。结合公司2025年中报财务数据,今年上半年公司在研发方面投入了41.35亿元,同比减3.86%。
通过天眼查大数据分析,潍柴动力股份有限公司共对外投资了64家企业,参与招投标项目12866次;财产线索方面有商标信息1225条,专利信息15742条,著作权信息655条;此外企业还拥有行政许可774个。
数据来源:天眼查APP
以上内容为证券之星据公开信息整理,由AI算法生成(网信算备310104345710301240019号),不构成投资建议。





